Enhanced ADC delivers longer battery lifetime

The AD4130‑8 from Analog Devices is an ultra-low power, high precision, measurement solution for low bandwidth battery operated applications.

Anglia Components is offering customers a free evaluation board and samples of the AD4130-8 Ultra Low Power, 24-Bit Sigma-Delta ADC.

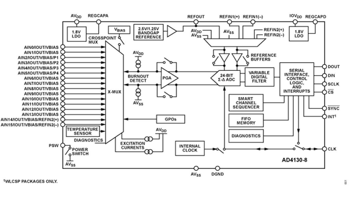
The device features a fully integrated analog front end (AFE) which includes a multiplexer for up to 16 single-ended or eight differential inputs, programmable gain amplifier (PGA), and 24-bit sigma-delta (Σ-Δ) analog-to-digital converter (ADC).

It also features, an on-chip reference and oscillator, selectable filter options, smart sequencer, sensor biasing and excitation options, diagnostics, and newly added features to improve the battery-operated lifetime (more than five years on a coin cell), that is, a first in, first out (FIFO) buffer and duty cycling.

The ADC allows users to measure low frequency signals with a current consumption of just 28.5 μA (gain = 1) and 32.5 μA (gain = 128) while continuously converting, and even lower average currents when using one of the duty cycling options. The device can be configured to have 8 differential inputs or 16 single-ended or pseudo differential inputs, which connect to a crosspoint multiplexer, where any input pair can become a measurement channel input to the PGA and ADC.

Together with the reduced current consumption, the integration of an on-chip FIFO buffer can be used in tandem with the smart sequencer, to enable the AD4130‑8 to become an autonomous measurement system, which allows the microcontroller to sleep for extended periods.

Intelligent interrupt functionality gives the user a greater confidence in both error detection and safety, an interrupt signal can be enabled to trigger when the samples in the FIFO reach a predefined value or when a user programmable threshold is exceeded.

The device is designed to allow the user to operate from a single analog supply voltage from 1.71 V to 3.6 V. In battery applications, operation as low as 1.71 V is critical and can extend the system lifetime as the AFE can continue its operation, even as the battery voltage dissipates. The digital supply can be separate and range from 1.65 V to 3.6 V.

Several key analog functions are offered to allow simple and effective connection to transducers used for measuring temperature, load, and pressure. The onboard PGA has programmable gain (from 1 to 128) and the high input impedance with low input current allows direct interfacing to transducers with low output amplitudes like resistive bridges, thermocouples, and resistance temperature detectors (RTDs).

Whilst the capacitive PGA allows full common-mode input range, giving designers greater margin for widely varying input common modes. A wider common-mode input range improves the overall resolution and is highly effective in ratio metric measurements.

The device facilitates low drift precision current sources, the IEXC0 and IEXC1 current source can be used to excite 2‑, 3‑, and 4‑wire RTDs with excitation current output options of 100 nA, 10 μA, 20 μA, 50 μA, 100 μA, 150 μA, and 200 μA.

A low-side power switch (PDSW) can be used to power down bridge sensors between conversions and can be controlled within the sequencer on a per channel basis, allowing optimum timing and energy savings in the overall system. The PDSW can also allow higher powered analog sensors to be used in a low power system. The device can also provide voltage bias for thermocouples (the VBIAS source sets the common-mode voltage of a channel to AVDD/2).

An integrated sequencer on the AD4130‑8 allows the conversion of each enabled preconfigured channel in a predetermined order, allowing a mix of transducer, system checks and diagnostic measurements to be interleaved. The sequencer eliminates need for repetitive serial interface communication with the device.

Up to sixteen channels can be configured in the sequence, each of them selecting from eight predefined ADC setups that allow selection of gain, filter type, output data rate, buffering, timing, and reference source.

For safety critical applications the ADC includes diagnostic functionality such as open wire detection via burnout currents, internal temperature sensor, reference detection, and analog input overvoltage and undervoltage detection.

Added diagnostics are included on the digital interface like cyclic redundancy check (CRC) and serial interface checks for a robust communication link.

The AD4130‑8 also integrates a low thermal drift band gap reference in addition to accepting an external differential reference, which can be internally buffered.

The AD4130-8 is available in two package options, a 35-ball, 2.74 mm × 3.6 mm WLCSP and 32-lead, 5 mm × 5 mm LFCSP, with temperature range options of −40°C to +105°C (WLCSP) or −40°C to +125°C (LFCSP).

To assist designers Analog Devices have made available the EVAL‑AD4130‑8WARDZ evaluation kit which features the AD4130‑8 24-bit, ultra-low power, low noise analog-to-digital converter (ADC). The evaluation board allows users to evaluate the features of the ADC and works alongside user PC software which allows control of the AD4130‑8 over the USB through the EVAL‑SDP‑CK1Z System Demonstration Platform (SDP) board.

The supplied software, AD4130‑8 ACE Plugin, allows full configuration of the AD4130-8 device register functionality and provides dc time domain analysis in the form of waveform graphs, histograms, and associated noise analysis for ADC performance evaluation.

Keep Up to Date with the Most Important News

By pressing the Subscribe button, you confirm that you have read and are agreeing to our Privacy Policy and Terms of Use
Previous Post

Low-noise amplifier with 1.6dB noise figure at 10GHz

Next Post

Infineon expands on Innoscience lawsuit