Implementing a VLC system presents certain challenges related to system integration and power management, especially for those that are unfamiliar with the technology. This article will look at some applications for VLC including the principles behind VLC positioning systems and discuss how recent devices present a design path with very limited risk.
VLC: Overview and comparison with RF
The importance of lighting has increased significantly following the development of LEDs that have surpassed incandescent light sources in terms of reliability, power consumption and luminous efficiency.
However, the concept of using light as a transmission medium is not new and can be traced back to France in 1792 where tower-mounted semaphores allowed light-based communication between cities. In the early 19th century, the US military developed ‘Heliograph’ that used mirrors to reflect sunlight by interrupting the light or pivoting the mirror. In 1880, Alexander Graham Bell (inventor of the telephone) created his photophone that transmitted voice signals on a beam of visible light.
Modern VLC systems use visible light within the 380nm to 750nm spectrum (430THz to 790THz). By modulating the light from existing luminaires, communication can be established without any of the limitations of RF technology.

Figure 1: VLC systems typically use the visible light portion of the spectrum
In the modern world, the dramatic increase in mobile data using RF means very crowded spectra which can lead to interference. VLC is typically used indoors, where the largest source of potential interference – high intensity light sources like the sun – are not a factor. Visible light is also an inherently unlicensed transmission band, removing the need to apply for licenses, or suffering from nearby systems competing for the same part of the spectrum. From a security perspective, RF easily penetrates walls, so signals may be intercepted easily and, at high power levels, prolonged exposure to RF waves can be harmful to human health. In low transmission speed VLC systems, such as indoor positioning, no additional power amplifier and signal chain are required saving system power and reducing design complexity.
There are multiple potential applications for VLC including light-based wireless communication, vehicle-to-vehicle (V2V) communications and underwater usage. VLC is of particular interest in certain specialist applications where traditional RF signals present a hazard such as mining or oil and gas platforms. It also allows interference-free communication close to sensitive equipment such as in hospitals and on-board aircraft.
VLC-based positioning
There are many applications for indoor positioning. In industrial applications, it can be used for directing automatically guided vehicles (AGVs) around factories and warehouses, or allowing humans to navigate large public buildings such as airports, hospitals or sports stadiums.
While the global positioning system (GPS) is highly effective for outdoor positioning it is not suitable for accurate indoor use. The signals struggle to penetrate many buildings and, if they do, then multipath propagation as signals bounce off walls and objects significantly limits performance. VLC is capable of reaching indoor positioning accuracies in the range of tens of centimeters, easily outperforming RF-based solutions.
Light-based positioning systems use existing lighting systems to create a positioning system indoors. Each LED ballast has a unique identifier, and this is encoded into the signal that drives the luminaire so that the light is modulated, transmitting its identity constantly. Due to human persistence of vision, these rapid impulses are imperceptible, but devices such as smartphones can capture and detect them.
When the phone is within range of multiple (three or more) luminaires, each with a unique code, a simple triangulation algorithm can calculate the distance to each luminaire and then deduce the position.

Figure 2. Visible light communication (VLC)
Technology to support VLC
In the VLC arena, efficiency and compact size are two challenges that face all designers, including those experienced in designing luminaires.
In order to provide support to all designers, onsemi offer devices that increase integration and enhance performance of intelligent lighting systems, such as the VLC systems described in this article.

Figure 3. VLC application diagram
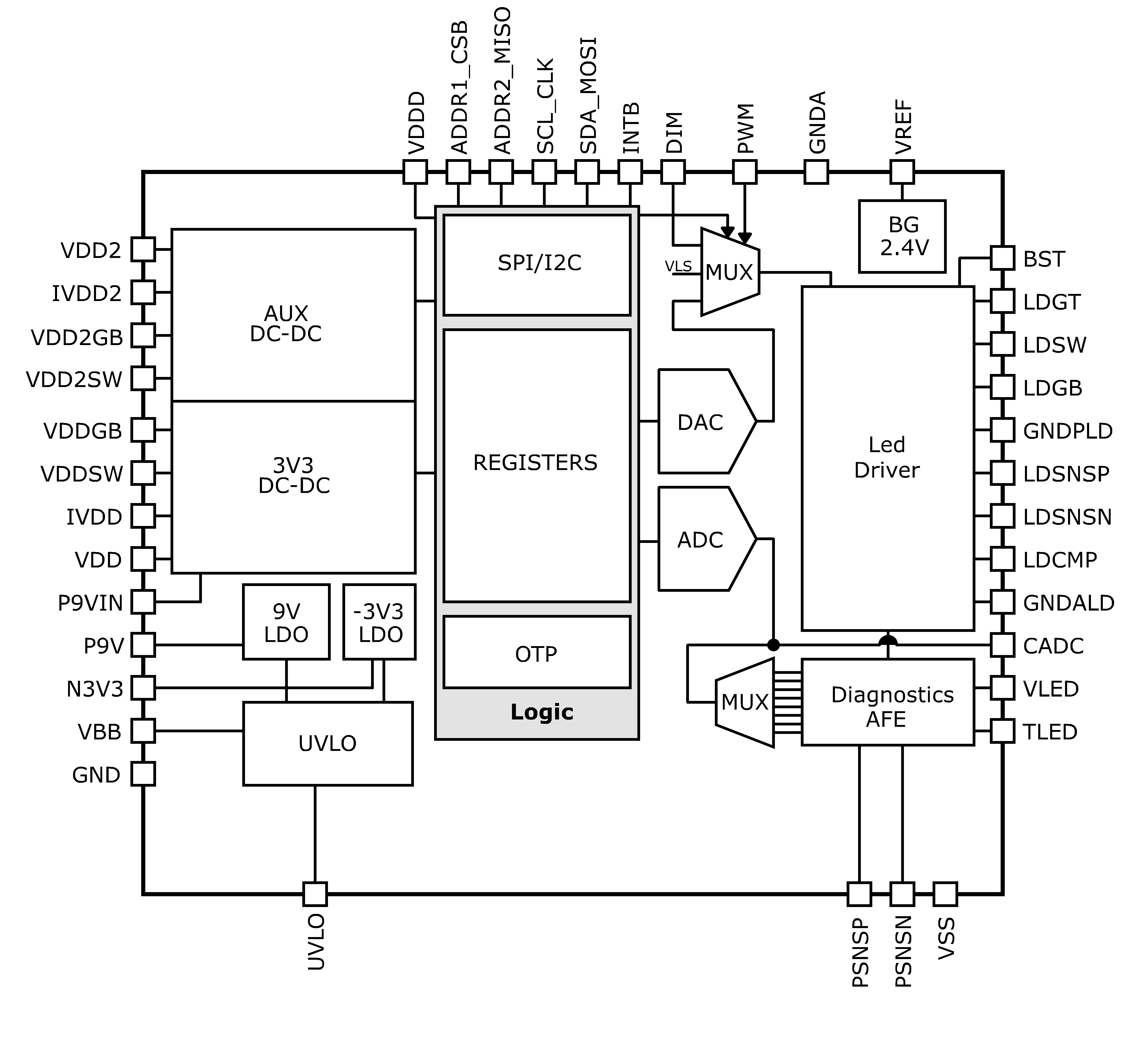
Specifically designed for LED-based luminaire applications, the NCL31000 LED driver from onsemi is a fully featured device that includes all of the elements needed to implement a high-efficiency LED lighting system.

Figure 4: The NCL31000 Advanced Light Engine from onsemi
Central to the system is a highly efficient (97%) buck LED driver that supports high-bandwidth analog dimming and PWM dimming to zero current. The NCL31000 includes an integrated 3V3 fixed DC-DC converter and an adjustable DC-DC (2V5 > 24V), suitable for powering sensing devices or other system components, thereby simplifying system design and reducing design risk while enhancing overall efficiency. The architecture of the NCL31000 delivers exceptional EMI performance, exceeding the requirements of CISPR15/EN55015 by >14dB.
Accurate linear dimming enables visible light communication, allowing for the development of indoor light-based positioning systems while the ability to dim to true dark with an accuracy of 0.1% ensures that there is no ghost light at the lowest dim settings.
Comprehensive diagnostics are derived from an analog to digital converter (ADC) that tracks system currents and voltages. Measuring input and output currents and voltages with high accuracy (±1%) enables power efficiency and LED load health monitoring. The diagnostics include both DC/DC convertors and LED temperature. All data is provided to an external MCU via an I2C/SPI interface.
A cut-down version of the NCL31000 (the NCL31001) omits the DC-DC converters that are not required in multi-string lighting solutions. This can be used as a cost-effective partner to the NCL31000 in these types of applications.
Summary
Smart connected lighting is a significant growth area, driven by the availability of low-energy LEDs. While long-life and low power operation are two key drivers behind this success, the flexibility afforded by modern intelligent lighting is giving rise to innovative new applications.
While not a new concept, the ability to transfer data via light is finally coming of age and is becoming popular as it is energy efficient, robust, secure, safe and without the many challenges of RF. This, in turn, is enabling more sophisticated applications such as indoor positioning systems. As these are based upon light they can be deployed everywhere, including in areas where RF is precluded such as hospitals and mining.
Alongside a comprehensive portfolio of solutions for connected lighting, the NCL31000 advanced light engine from onsemi opens up new and existing markets for visible light communication for designers by offering a highly efficient and fully integrated solution that helps get products to market faster. The NCL31000 is also ideal for a number of other areas including backlighting in professional displays, multi-channel managed lighting in greenhouses and other indoor and outdoor connected lighting applications.