CDC6C-Q1 by Texas Instruments

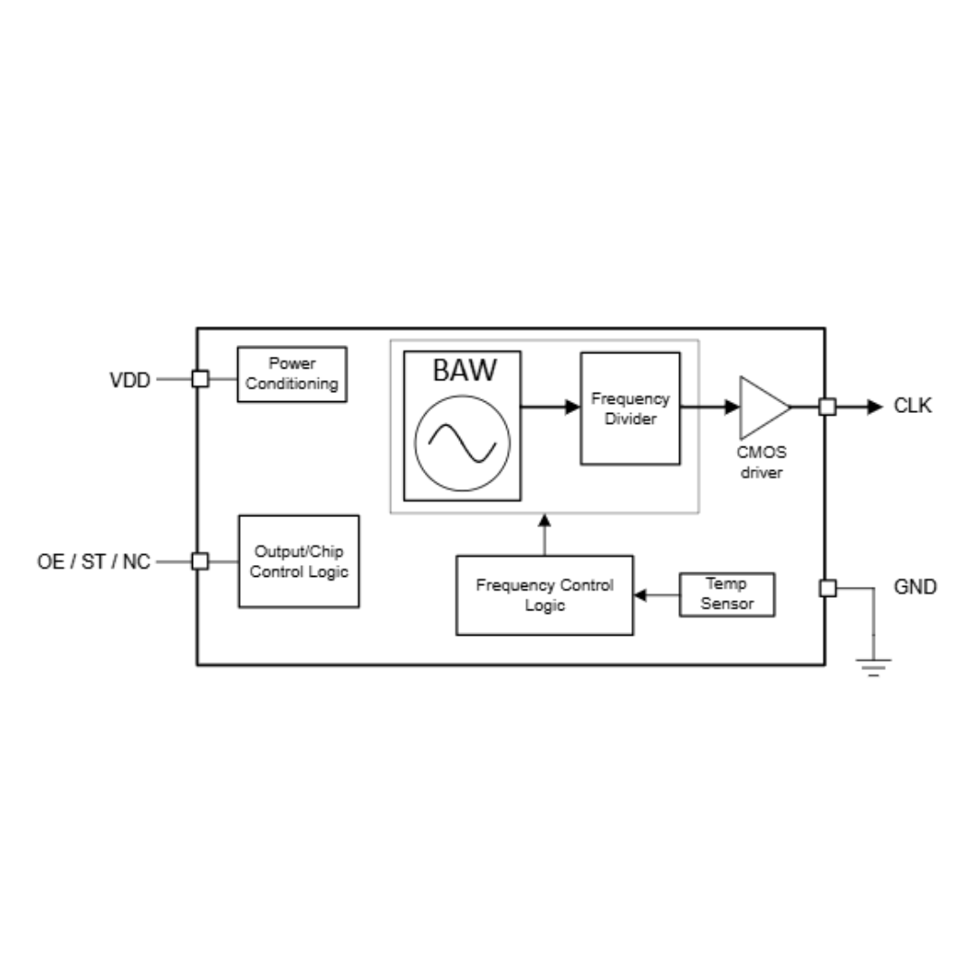
Texas Instruments’ high-precision Bulk-Acoustic Wave (BAW) micro-resonator technology is integrated directly into a package allowing for low jitter clock circuitry. BAW is fully designed and manufactured at TI factories like other silicon-based fabrication processes.

Keep Up to Date with the Most Important News

By pressing the Subscribe button, you confirm that you have read and are agreeing to our Privacy Policy and Terms of Use
Previous Post

High precision Schlieren optics for aerodynamic testing

Next Post

Discover the infinite possibilities of screen printing at SPI 2025